شركة هوبى شين أنينج لآلات النقل المحدودة
شركة هوبى شين أنينج لآلات النقل المحدودة
أخبار

تحديد بروتوكول أنظف

1.1 تحديد برنامج أنظف

اكتسح الشريط اللاصق لغبار الفحم الذي تم الالتزام به. كما نعلم جميعًا ، يحتوي الفحم الخام المنقولة من وجه التعدين على درجات مختلفة من الرطوبة ، ومن السهل ربط الفحم المسحوق الناعم على سطح الشريط. إذا لم يتم تنظيف الفحم المسحوق إلى الشريط ، فسيتم إحضار الفحم المسحوق إلى سلة تخزين الحزام والأسطوانة أسفل الحزام السفلي بأكمله في القسم الفارغ (أي الحزام السفلي) ، وسيتم إيداعه بشكل أساسي في سلة تخزين الحزام.

النتائج الرئيسية هي:

تتراكم كمية كبيرة من الفحم المسحوق في سلة تخزين الحزام ، والتي تدافع بكرة الدعم ، مما تسبب في فشل الأسطوانة في تشغيل وتؤثر على عمر خدمة الحزام ؛

2) إن انحراف عملية الحزام سيؤدي إلى حافة الحافة أو تمزيق حادث ؛

3) زيادة مقاومة الجري للشريط وزيادة التكلفة ؛

4) تزداد كمية تنظيف الفحم ، مما يزيد من كثافة العمالة للعمال ؛

في استخدام منظفات الفحم ، هناك ثلاث مشاكل يجب حلها:

1) يجب أن يكون تأثير التنظيف جيدًا ؛

2) يسهل استبدال المنظف ، ويجب أن يكون عبء عمل الصيانة صغيرًا ؛

3) يجب أن يكون هناك مخرج للفحم المسحوق.

1. تحليل الوضع الحالي

1) هيكل وموضع منظف الفحم التقليدي


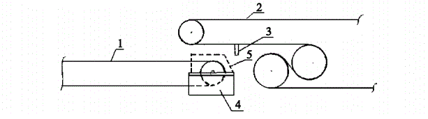
كما يتضح من الشكل 2-1 ، يتم تثبيت منظف الفحم بشكل عام في الجزء الخلفي من الأسطوانة. منظف ​​الفحم هو إصلاح قطعة من الشريط في منتصف الجبعة لتشكيل إطار منظف الفحم ، واستخدام بنية الدبوس والرافعة لجعل شريط منظف الفحم عصا إلى الشريط المجوف للتنظيف ، واستخدام توتر الزنبرك لجعل منظف الفحم والحزام المجوف ينتج ضغطًا معينًا ، ويمكن أن يجعل الشريط النظيف للفحم يلبس خارج نطاق الضغط.

2) عيوب منظفات الفحم التقليدية

أ. يتكون منظف الفحم من شريط تنظيف ، ولأن الحزام السفلي عبارة عن حزام مجوف ، فإن الحزام يطفو تحت ضغط منظف الفحم ، فإن ضغط منظف الفحم لا يكفي ، وتأثير التنظيف ضعيف.

6. يوجد منظف الفحم على الجانب الخلفي من أسطوانة التفريغ ، وعموما على بعد أكثر من 1 متر من أسطوانة التفريغ وفقًا لظروف التثبيت ، والفحم تحت التنظيف يحتاج إلى معالجة قادوس الفحم الصغير لانزلاق الفحم إلى الحزام التالي ، ولكن في بعض الأحيان لأن ارتفاع مساحة تحت الأرض لا يكفي ، فإن الفحم لا يمكن أن ينزلق بعيدًا.

ج. عبء العمل البديل في منظف الفحم كبير ، مما يجعل منظف الفحم سهلاً للتلف ، كما أن دورة الاستبدال قصيرة جدًا.

3) مفصل حضن النقل الحزام النموذجي

يوضح الشكل 2-2 لفة نقل الحزام النموذجي.

كما يتضح من الشكل 2-2 ، لا يمكن للفحم الموجود تحت منظف الفحم أن ينزلق مباشرة على الحزام ، ووفقًا لأحكام "لوائح سلامة مناجم الفحم" ، يجب تزويد الأجزاء 35 الجارية في جميع المعدات بجهاز واقٍ (على سبيل المثال ، درع) ، لذلك بعد أن يتم تجهيز الحزام مع درع ، يتم زيادة مشكلة الفحم في طعم الحزام.

أخبار ذات صلة
اترك لي رسالة
X
نحن نستخدم ملفات تعريف الارتباط لنقدم لك تجربة تصفح أفضل، وتحليل حركة مرور الموقع، وتخصيص المحتوى. باستخدام هذا الموقع، فإنك توافق على استخدامنا لملفات تعريف الارتباط. سياسة الخصوصية
يرفض يقبل